BRG Calypso M8 orsós magnetofon

Műszaki adatok

Szalagsebességek:9,53 cm/s, +2%. 4,76 cm/s, +2%. 2,38 cm/s, +2%.
Hangcsíkok száma: 2, a nemzetközi szabvány szerint.
Tápfeszültségek: 110 V és 220 V váltakozófeszültség.
Teljesítményfelvétel: 60 W.
Biztosítékok: 110 V-on 600 mA, 220 V-on 300 mA.
Frekvenciamenet: felvétel + lejátszás:
9,53 cm/s-on 60...12 000 Hz, +/-3 dB.
4,76 cm/s-on 60 ... 6000 Hz, +/-3 dB.
2,38 cm/s-on 60 ... 3000 Hz, +/-3 dB.
Jel/zaj viszony:
9,53 cm/s-on 46 dB. 4,76 cm/s-on 44 dB.
Nyávogás:
9,53 cm/s-on +/- 0,3%.
4,76 cm/s-on +/- 0,6%.
2,38 cm/s-on +/- 1,2%.
Törlő és előmágnesező frekvencia: 50 kHz.
Áttekercselési idő: 180 mm-es orsón, 720 m szalagnál 8 perc.
Bemenetek:
I. mikrofon 2 mV/1 M?
II. hangszedő 100 mV/200 k?
Kimenetek:
I. feszültségkimenet, külső erősítő: 300 mV/20 kΩ
II. teljesítmény-kimenet, külön hangszóró: 1,7 V/3Ω

 

Hajtómechanizmus

Az M motortárcsa gumizsinórral hajtja a C lendkereket és a hangtengelyt. A D szalagnyomó görgőt a H mágnes nyomja a hangtengelyhez. A három sebességet úgy érték el, hogy mind a motortárcsát, mind a lendkereket három különböző átmérőjű horonnyal látták el. A H motortárcsa gumizsinórral állandóan hajtja az A alsó kuplungot, ezen súlykuplungként helyezkedik el a B felsőkuplung-tárcsa. Ez csévéli fel a szükséges fordulatszámmal a szalagot. Ugyanakkor gumizsinórral hajtja az F szalagszámlálót. Gyors jobbra csévéléskor a szabadonfutó G gumiperemű tárcsa az A alsó és a B felső tárcsához nyomódik, és így az A és B tárcsa között a gyors jobbra csévéléshez kényszerkapcsolatot létesít: Gyors balra csévéléskor viszont az E tárcsát tartó karnak a nulla pont körüli elforgatásával a csévélő tárcsát kapcsolatba hozzuk az M motortárcsa gumiperemével.

 

Sebességváltás

Mint már említettük, mind az M motortárcsára, mind a lendkerékre három szíjhornyot véstek. Ezek a hornyok úgy vannak elkészítve, hogy minden sebességlépcsőn a gumi megfeszítése azonos. Sebességváltáskor a K görbepályát eltoljuk, amikor is az L villa és a közte levő hajtózsinór elmozdul, más pályára kényszerítve a hajtógumit. Az Ml, M2, és Cl, C2 átdobó tüskék a hajtó gumizsinórt a terelő villa által kijelölt horonyba dobják. Helyes beállításkor az L terelő villa csak sebességváltáskor érinti a hajtógumit, máskor a hajtózsinór a villa két szára között a középvonalban fut.

 

Fékrendszer

Az alkalmazott fékrendszer mindkét orsóra azonos, de a fékrendszer irányérzékeny, például az E bal oldali orsózótárcsa az óramutatóval ellenkező forgásiránynál zárja a féket, egyező forgásirány esetén a fék kinyílik. Önzáró fékezés alkalmával a kemény fékezést - a szalagszakítás elkerülése céljából - különleges eljárással lágyítani kell. Az N fékkar az O1 tengely körül elfordítható, a nyíl irányú erővel az S féksaru az E tárcsáról leemelhető. Zárt állásban a féket a Z rugó gyenge nyomással szorítja a tárcsához. Az N fékkaron egy másik kis, P fékkar az 02 pontra elfordíthatóan van felszerelve. Ehhez csavarral excentrikusan erősítették fel az S féksarut, hogy ily módon a kopás utánállítható legyen. A féksaru felerősítése a P kar elmozdulását nem akadályozza, mert a fékkarban a felerősítő csavar részére ovális nyílást készítettek. Az R spirálrugó a P fékkart a csavarnak az ovális nyílás jobb szélső helyzetben való ütközéséig elforgatja. Az E orsózó tárcsának az óramutató járásával egyező irányú elfordulásakor a fékkar nyitó irányban mozdul el. Ellenkező irányú elfordításkor a forgás a fékben záró irányú súrlódó erőt kap. A súrlódó erő növekedését egy meghatározott értéken felül a P és N karok egymáshoz viszonyított elmozdulása megakadályozza. A R rugó előfeszítésének mértéke határozza meg a záró irányú fékezőerőt.

 

A szalagmozgató rész excentereinek beállítása

Benyomjuk a gyors balra nyomógombot, majd a 112-es excentert úgy állítjuk be, hogy a 131-es rugó éppen érvényesüljön, ill. a biztonsági távolság 0,3 mm legyen. Nullára állítás után benyomjuk a gyors jobbra gombot, majd a 114-es excentert állítjuk be úgy, hogy a 132-es rugó érvényesüljön. A biztonsági távolság lehetőleg itt is 0,3 mm legyen. A gyors jobbra görgő lemeztartóját azért hosszabbították meg (W-vel jelzett rész), hogy az alsó és felső tárcsához egyszerre való érintkezés pontosan beállítható legyen. Követelmény: a jobb orsó forgatásakor a hajtómotor forogjon. A nyomógombot nullázzuk, és ilyen állásban állítjuk be a fékeket és ütközőket. A bal oldali 117-es féksaru-excentert középállásba állítjuk; középpontja a tengelytől jobbra essék. A jobb oldali 117-es excentert viszont az A és B élek egybeesésére kell beállítani, ilyenkor az excenter középpontja a forgástengelytől balra esik. A 111-es excentert az ütközéstől 1 mm-re állítjuk. A 113-as excentert ugyancsak 1 mm-re állítjuk az ütközéstől, azonban úgy, hogy középpontja felénk kerüljön. A lejátszás nyomógombot lenyomjuk és a működést állítás nélkül ellenőrizzük. Követelmények: a gyors jobbra és a gyors balra orsók az üzemszerű érintkezéstől legalább 0,5 mm távolságra legyenek még akkor is, ha a lejátszás billentyűt az arretáláson túl az ütközésig nyomjuk. Arretált állapotban a 117-es bal oldali és a 117-es jobb oldali excenterek legalább 1 mm-t oldjanak. Nullázás után lenyomjuk a gyors jobbra billentyűt és állítás nélkül ellenőrizzük annak működését. Követelmények: a 117-es bal oldali fék legalább 1 mm-re oldjon. A billentyűt arretáláson túl, ütközésig nyomva, a gyors balra orsó az üzemszerű érintkezéstől legalább 0,5 mm-re legyen. Nullázás után a gyors balra billentyűt nyomjuk le, majd állítás nélkül ellenőrizzük a működést. Követelmények: a jobb oldali 117-es fék legalább 1 mm-re oldjon. Az arretáláson túl, ütközésig nyomva a billentyűt, a gyors jobbra orsó az üzemszerű érintkezéstől legalább 0,5 mm-re legyen. A bal oldali kuplungtárcsa melletti 110-es excentert úgy állítjuk be, hogy a nyomógomb nulla állásakor a kuplungtárcsa a motortárcsától 0,5...0,8 mm-re legyen. A gyorsorsózás helyes beállításának próbáját 18 mm átmérőjű, tele és üres orsóval kell elvégezni. A gyors balra kritikus helyzete: baloldalon tele orsó, jobb oldalon csak néhány szalagmenet. A gyors jobbra kritikus helyzete: jobb oldalon tele orsó, baloldalon néhány szalagmenet.

 

Orsózó tárcsák

  


E tárcsák szerkezetét két (jobb és bal orsózó) ábra szemlélteti. A műanyag orsózó fedél (56) három csavarral (57) van rögzítve. Ez a rögzítési mód mindkét oldali tárcsára azonos. A bal oldali orsózó részt feszítő gyűrű (58) tartja össze. A szóban forgó feszítőgyűrű és az alátét között 0,3 mm légrést kell hagyni. A bal oldali orsózó tárcsa (60) alatt van az önbeálló köszörült filckuplung (61). Ez csúszógyűrűvel felfelé áll. A filckuplung alatti alátétek (62) darabszámának változtatásával lehet a magasságot beállítani. A szerelőlap és a (60) orsózó tárcsa felső pereme közötti magasságot az alátétekkel (62) 26,5 mm-re állítsuk be. Az orsózó agy (63) három szegecseléssel felerősített csapon nyugszik. A csap vállára előbb alátétkarikát helyezünk (66), azután jön az orsózó agy, majd újra alátét (65), és az egészet feszítőgyűrűvel rögzítjük (64). A feszítőgyűrű és az alatta levő alátét között 0,4 mm légrés legyen, nehogy a gyors balra csévélés bizonytalanná váljék. A jobb oldali orsózó tárcsát az (58) feszítőgyűrű rögzíti. A gyűrű és alátétje (59) között 0,3 mm légrést kell hagyni. A jobb oldali felső orsózó tárcsa (67) alatt alátétek vannak (62). Az alátétek számával állítsuk be a tárcsa magasságát. A szerelőlap és az orsózó tárcsa (67) felső pereme között 26,5 mm legyen a magasság. A jobb oldali, szóban forgó orsózótárcsa, valamint az alátétek alatt van az önbeálló, köszörült filccel ellátott tárcsa (68). A filcet a tárcsa, alsó felére ragasztották. Ez a jobb oldali alsó orsózó tárcsának felfelé álló műanyag csúszófelületével érintkezik. Az orsózó tárcsa csapágya (69) ultramid alátéten (70) fut. Ez szoros illesztéssel feszül a tengellyel ellátott agyra (71). Az alátét csapággyal érintkező felületét depofette csapágyzsírral kell kenni. Az orsózóagyat (71) három csavarral (72) rögzítették a szerelőlaphoz. Az orsózó tárcsák szerelésekor kerüljük a bő olajozást, mert a centrifugális erő a köszörült filckuplungra dobja ki az olajat. A műanyag orsózó fedél (56) visszahelyezésekor ügyeljünk arra, hogy az orsózó tárcsákból (60 és 67) kiálló csapágyak külső átmérője vezesse a műanyag orsózó fedelet (56), végezze el a központosítást.

 

Motorcsere

A motor beépítésének módját az alábbi ábrán szemléltetjük. A motort (73) a szerelőlaphoz három rezgéscsillapító gumi (79) rögzíti. A felerősítést az alábbi sorrendben kell végezni: A felerősítő csavarra (78) alátétet teszünk, majd reá előbb egy műanyag alátétet (77), majd egy fémalátétet (76) fűzünk fel. A szerelőlap megfelelő furataiba, vékonyabb peremével felfelé gumit (79) helyezünk, és ebbe a távolságtartó-fémet (75) nyomjuk be. A korábban már elkészített, alátétekkel már ellátott csavart (78) az ábra szerint elhelyezzük és a fémalátéttel, majd a távolságtartóval, továbbá az ábra szerinti módon alátétekkel (74) látjuk el. Végül a rögzítő csavarokat a motor menetes tartóiba csavarjuk. Figyelem! A csavarokat jól húzzuk meg, hogy az alátétek (76) fogják közre és érintsék a gumi (79) közé helyezett távolságtartót. A motortárcsát (80) két hernyócsavar (82) rögzíti a motortengelyhez. A tárcsát megbízhatóan csak kiszerelt motoron lehet rögzíteni. Figyelem! A hernyócsavar elé acélgolyót (81) kell tenni; ez teszi a rögzítést megbízhatóvá. Motorcseréléskor, ha a motortárcsát cseréljük, a bal oldali orsózótárcsát (60 és 61) le kell vennünk. Vigyázzunk a motortárcsa visszahelyezésekor, hogy a tárcsa alsó széle és a motor között 0,4 mm légrés maradjon.

 

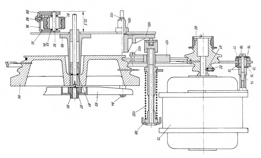
Lendkerék cseréje

Lendkerék cserélésekor legelőbb a lendkerék alatt levő végerősítő csövet kell foglalatából kivenni. Ezután két csavar (84) megoldásával és eltávolításával leszereljük a lendkeréktartó hidat (83) (lásd az ábrát). Ebben laza illesztéssel van beépítve a talpcsapágy (85). Ez utóbbin acélgolyó (97) támaszkodik; ez hordja a lendítőkerék és szerelvénye (86) súlyát. A lendítőkerék-szerelvényt csapágyhüvely (88) tartja. Tengely irányú játéka 0,5 mm lehet, ezt az alkalmazott alátétek (87) számával kell beállítani. A lendkerék visszahelyezése után a csapágyhüvelyből (88) kiálló tengelyrészt töröljük meg a csapágyon való átdugáskor reárakódott olajtól.

 

Sebességváltó

A sebességváltó magasságát az ábrán a (101) szerelvény felső részén található három csavarral kell beállítani. A csavarhúzót a két, 12 mm átmérőjű lyukon át vezethetjük a csavarokig. A beállítás helyességét ellenőriznünk kell: a motort az óramutató járásával ellenkező irányban forgatjuk, majd sebességet váltunk minden lehetőség szerint. A gumizsinórt átdobó tüskének mindkét gumiszíjnál a gumizsinór alá és fölé kell csúsznia. A sebességváltó a tartóhíd (98) középtengelye körül kismértékben elfordítható. Ezt csavarokkal (106) rögzített Z alakú alkatrésszel (107) lehet végrehajtani. Annyira fordítsuk el a sebességváltót, hogy a gumizsinórt közrefogó fém terelővillák (134) 1 mm távolságra kerüljenek a motortárcsához (80) és a lendítőkerék (86) két acél tüskéjének helyéhez. Szétszedéskor a hídtartó csavarok megoldása után a tartóhidat leszereljük, amikor is a rugó (100) és a sebességváltó rész (101) kiemelhetővé válik. A két távolságtartó csavart (102) a terelő villák végéből ki kell csavarni, mert a sebességváltó részt a gumizsinórtól csak így lehet eltávolítani. Visszahelyezéskor gondosan ügyeljünk arra, hogy a görbepálya (103) 2,38 cm/s sebességállásban legyen, és a sebességváltó (101) 4 mm átmérőjű nyúlványa át legyen fűzve a tartóhíd (98) ovális furatán. A görbepályát (103) alátéttel (104) választották el a szerelőlaptól, ill. feszítőgyűrű (105) erősíti ahhoz. Legyünk figyelemmel arra, hogy a feszítőgyűrűk a görbepálya (103) két tengelyét összekötő egyenesbe mutassanak, mert ellenkező esetben a szalagsebesség átkapcsoló műanyag gombját (11) nem lehet feltenni.

 

Nyomógörgő

A nyomógörgő hajlított tartóban (96) foglal helyet. A görgő (91) szabadon fut a tengelyen (92), ez egyébként alul (93) két, felül pedig (94) egy alátéttel tart el magától egy hajlított rugót. A rugó a nyomógörgő-tengely lelapult végéhez támaszkodik. A nyomógörgőt függőleges irányban a határoló lemezzel (89) lehet állítani; a lemezt rögzítő csavar (90) szorítja a hajlított (96) lemezhez. Helyes beállítás esetén a bal oldali lefejtő orsó visszaforgásakor vagy előre engedésekor a szalag sem lefelé, sem felfelé nem mozdulhat. A nyomógörgő-szerelvényt alátétekkel úgy kell beállítani, hogy legmagasabb pontja a szerelőlaptól 22,5 mm-re legyen. A nyomógörgő (91) kiszerelését az alábbiak szerint végezzük: Az ún. alkatrész forgótengelyéről a rögzítő feszítőgyűrűt levesszük és kiemeljük, a húzókar feszítőgyűrűs rögzítéseit pedig oldjuk és leemeljük. A húzómágnes rögzítő csavarjait oldjuk, végül a nyomógörgő-kengyelt (96) rögzítő feszítőgyűrűjének leszedése után kiemeljük. A nyomógörgő és húzómágnes visszaszerelése után a helyes működést a rögzítő csavarok meghúzása előtt állítjuk be úgy, hogy a húzómágnes bekapcsolása lejátszáskor a nyomógörgő-tengelyt (92) az alkatrész (89) ovális furatában az ütközéstől 0.5 mm-re emelje ki.

 

Húzómágnes cseréje

Két csavar kicsavarásával és a húzómágnes vezetékeinek leforrasztásával a húzómágnes-szerelvény kiakasztható az összekötő rugóból. A húzómágnes visszahelyezésénél a csavarok laza meghúzása után helyezzük üzembe a készüléket, majd a rögzítő csavarokat olyan helyzetbe húzzuk meg, bogy a mágnes meghúzott állapotában a nyomógörgő-tengely (92) az alkatrész (89) ovális nyílásának főtengely felőli végétől 0,5 mm-re emelkedjék el.

 

Nyomógombszerelvény cseréje

Ha a nyomógombsor bármelyik műanyag gombja sérült vagy törött, akkor a hibás gombot a nyomógombsor levétele nélkül araldittal fel lehet ragasztani. Ha az egész nyomógombsort cserélni akarjuk, akkor a húzórugókat tartó két feszítőgyűrűt és a négy rögzítő csavart alulról leszereljük, miáltal a nyomógombsor levehető. Visszaszereléskor vigyázzunk, mert a nyomógombsor a rögzítő csavarok meghúzása előtt elmozdítható. A nyomógombsor állását a műanyag bura helyzetével hozzuk összhangba.

 

Számlálócsere

A számláló szerelvény három csavar kicsavarása és egy rugó kiakasztása után eltávolítható. Visszahelyezéskor a három csavar meghúzása előtt legyünk figyelemmel a számláló helyes beállítására, mert annak állását a műanyag bura kivágásához kell igazítani.

 

Gumicsere

A motortárcsa és a lendkerék közötti főhajtógumit az alábbiak szerint kell cserélni. Az orsózó tárcsát hajtó gumit a motortárcsa felső részénél lehúzzuk. Ezután a főhajtószíjat a motortárcsán át leemeljük, majd a sebességváltó híd és a sebességváltó test két távolságtartó csavarját (102) kicsavarjuk. A lendkereket tartó híd két csavarját (84) kicsavarjuk. A lendkeréken (86) át kivesszük a főhajtógumit. Az utóbbi feszítés nélkül kör alakban 140 mm átmérőjű. Erőszakos feszítés alkalmával vagy a gumi fáradásakor maradandó alakváltozás keletkezik rajta. Ha a szíj belső átmérője 145 mm-nél nagyobb értékre nyúlik meg, a főhajtószíj hajtásra alkalmatlan; azt ki kell cserélni. Az orsózó gumi cseréjét a következők szerint végezzük el. A gumit az orsózó tárcsán át lehúzzuk. Egy csavar kicsavarása után a távtartó kivehető, és így az orsózó gumi a számláló gumi lehúzása után az orsózó tárcsáról levehető. Az orsózó gumi kör alakra formálva, feszítés nélkül 125 mm belső átmérőjű. Erőszakos feszítéssel vagy fárasztással alakváltozás keletkezhet rajta. Ha ennek következtében a kör alakra hajlított gumi átmérője 129 mm-nél nagyobb, az orsózó gumit ki kell cserélni. Figyelem! Ne feledkezzünk meg a távtartó visszaszereléséről. A számláló gumi cseréjét a következőképpen kell végrehajtani. A középső rögzítő csavar kicsavarása és a rugó kiakasztása után a számláló gumi cserélhető. A számláló gumi lazán, kör alakra terítve 140 mm belső átmérőjű, 40 Shore keménységű, lágygumi. Legfeljebb 12 g kerületi erőt visz át, cseréje csak sérüléskor indokolt.

 

A balra gyors orsózó motortárcsa (80) cseréje.

A motortárcsán levő gumiperem számottevő kopása esetén vagy sérülésekor az egész motortárcsát cserélni kell. A csere végrehajtásához a motorcserére mondottak az irányadók. A gyors jobbra orsózó görgő hozzáférhető a visszahúzó rugó kiakasztása és a feszítő gyűrűk oldása után. Csak nagymértékű kopás vagy sérülés esetén kell a görgőt cserélni. A tartókeret nyúlványának (W) helyes beállításával a hiba rendszerint megszüntethető.

 

A féktárcsák (117) cseréje.

A fékek cseréje csak teljes kopás vagy sérülés esetén indokolt. A fékezés hibáját utánállítással vagy a fékezőfelületnek és a vele érintkező orsós tárcsa felületének triklóretilénnel való erőteljes zsírtalanításával lehet megszüntetni. Egyébként a féktárcsák (116) a bennük levő rögzítő csavar oldásával eltávolíthatók. A helyes beállítás után húzzuk meg a csavart és praxolinnal is rögzítsük. Ne használjunk rövidebb csavart, mert ez is a fék helytelen működésére vezet.

 

A szalagfutás beállítása

A szalagfutás beállítása előtt a mozgatórendszer excentereinek beállítása valamint a sebességváltóra közölt műveleteket el kell végezni.

a) A jobb és bal oldali szalagvezető nyílása 6,4 mm, a nyílás alsó élének magassága a szerelőlaptól 8,5 mm legyen. Ezek a szorító gyűrűk helyzetének változtatásával állíthatók be. Vigyázzunk, hogy a szalagvezetők a műanyag bura ferde oldalával összhangba kerüljenek.

b) A bal oldali orsózó szerelvény. A bal oldali orsózó tárcsa (60) a szerelőlaptól 26,5 mm magasságban legyen. Az orsózó tárcsa (60) alsó pereme és a motortárcsa (80) gumipereme között legalább 1 mm legyen a távolság. Lejátszás állásban 15 mm kerületű üres orsót helyezünk a bal oldali orsózó tárcsára, és a 6 cm átmérőjű orsómagon kerületi erőt mérünk. A rugós erőmérőt lassú húzással a megindításig húzzuk, a lefejtő erő 17..23 g között legyen. Ha a húzóerő a fenti értéktől eltér, az orsózó tárcsát szét kell szedni, és meg kell vizsgálni, hogy nem került e a köszörült filckuplung (61) és az orsózó tárcsa műanyag felülete közé nedvesség vagy olaj. A szennyeződést szén-tetrakloridos mosással távolítsuk el, szükség esetén cseréljük ki a hibás alkatrészt. A nyomógombsor nulla állásában - zárt fék esetén - az óramutató járásával egyező irányban kerületi erőt mérünk. A mért érték helyes, ha annak nagysága 35..45 g közé esik. A nyomógombsor nullázása után - zárt fék esetén - kerületi erőt mérünk az óramutató forgásával ellentétes irányban. Ennek helyes értéke 350..450 g. Kisebb erőknél a tárcsa és a fék felületén triklóretilénes lemosás szükséges.

c) A nyomószerelvény beállítása. A lejátszás nyomógombot lenyomjuk, amikor is a törlő és kombinált fej közé benyomódó szalagvezető 150 g erővel ütközik. Ilyenkor a mozgató rugó gyengén elmozdul, ha ez nem következik be, azt a csavarokkal be kell állítani. A 150 g ütközési nyomóerőre szükség van, hogy a filcpapucs a film középvonalában 30..40 g erővel felfeküdjék a törlőfejre és a permalloy zárólemez középvonalában 5 g erővel a kombinált fejre. Ezeket az értékeket a megfelelő rugók szabályozásával kell beállítani.

d) A jobb oldali orsózó szerelvény. Az orsózó tárcsa (67) felső pereme a szerelőlaptól 26,5 mm magasságban legyen. Lejátszás állásban 150 mm-es orsót téve a jobb oldali orsózó tárcsára, a 6 cm átmérőjű magon kerületi erőt mérünk. A rugós erőmérőt indítás után lassan a tárcsa felé engedjük. A felcsévélő erő 25..35 g között legyen. Az előírásnak nem megfelelő csévélő erőnél az orsózó tárcsát szét kell szedni, és meg kell vizsgálni, nem került-e a köszörült kuplung (68) és az orsózó tárcsa (69) műanyag felülete közé olaj, nedvesség, vagy egyéb szennyeződés. Alkalmazzunk szén-tetrakloridos lemosást, vagy alkatrészcserével szüntessük meg a hibát. A nyomógombsor nullázása után - zárt fék esetén - az óramutató járásával egyező irányú forgatást fejtünk ki, miközben mérjük a kerületi erőt. Értéke 400..500 g között legyen. A nyomógombsor nulla állásakor - zárt fék esetén - mérjük az óramutató járásával ellenkező irányú erőt. Forgatáskor a nyitó irányú kerületi erőnek 150..200 g-nak kell lennie. Ha kisebb a fékezőerő, a fékpofákat és a tárcsa csúszófelületét triklóretilénes lemosással kell megtisztítani.

e) A húzómágnes beállítása. Mint máremlítettük, a húzómágnest csavarjaival úgy kell rögzíteni, hogy a görgőtengely (92) 0,5 mm-re emelkedjék ki az ovális nyílás (89) ütközőpontjától. Vigyázzunk! Az ötvözött alumínium lemezbe vágott menet a csavarok túl erős meghúzásakor megsérülhet. Ellenőrizzük a nyomógörgőnek a főtengelyre kifejtett nyomását, ennek 650 +/- 100 g-nak kell lennie. A pillanat állj kapcsolót kapcsoljuk be, majd utána a lejátszás nyomógombot lassan nyomjuk le. Helyes beállítás alkalmával a jobb oldali fék (117) előbb emelkedjék fel, semmint a húzómágnes (130) a nyomógörgőt (90) berántsa a főtengely szerelvényéhez (86). A húzómágnes helyes időben végzett rántását a készülék alsó részén, a tápegységen található Z rugótartó nyúlványának beszabályozásával lehet beállítani.

f) A szalagvezetők tisztítása. Valamennyi szalaggal érintkező felületet, így a gumigörgő teljes felületét is triklóretilénnel igen gondosan tisztítsuk meg.

g) Beállítás szalaggal. Állítsuk be a kombinált és törlőfejet a szerelőlapra merőlegesen, majd a szalagterelő magasságát a szerelőlaptól 8,5 mm távolságra. 26 mikron vastagságú szalag befűzése után ellenőrizzük, hogy játszás közben a bal oldali orsót kézzel fékezve, a szalagterelő vonalában a szalag nem mozdul-e függőlegesen. Ha a szalag felfelé mozdul, a csavar (90) megoldásával az alkatrészt (89) kissé jobbra csúsztatjuk, ezzel a görgőtengelyt (92) jobbra döntjük. Ha a szalag lefelé mozdul el, a görgőtengelyt balra döntsük. Pontos beállításban, 9,5 cm/s szalagsebesség esetén, 10 000 Hz-es felvett jel lejátszásakor legfeljebb 1 dB jelingadozás léphet fel. A használt szalag tisztaságára és ujjlenyomat nélküli állapotára a felvétel előtt és a lejátszás alatt is ügyeljünk. A jelingadozást természetesen a fejmagasságok és a kombinált fej magasságának végleges beállítása után lehet ellenőrizni. A kombinált, ill. törlőfej magasságát egyébként úgy kell beállítani, hogy lejátszáskor a törlőfej réséből a szalag felett 0,1 mm látható legyen. A kombinált-fej merőlegességét a szabványban előírt módon vizsgáló szalaggal kell beállítani. A vizsgáló szalag erre a célra készült része 6 kHz-es felvételt tartalmaz. A szalagot 9 cm/s sebességgel lejátsszuk, majd a fejet oly módon hozzuk függőleges állásba, hogy helyzetét a hangszórókimeneten mért legnagyobb jelre állítjuk be. Ha helyes a beállítás, lejátszáskor a bal oldali orsó fékezése vagy előreengedése esetén a szalagvezető a szalag alsó vagy felső szélével nem érintkezhet. Az előbbiekben rögzített 1 dB-es jelingadozásnál több nem léphet fel.

 

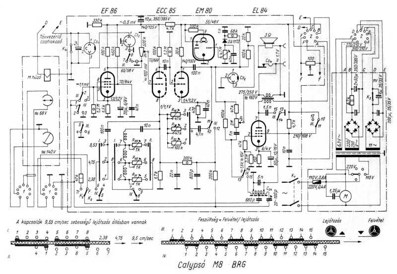
Elektromos rész

A készülék elektromos alkotórészeit négy részre lehet osztani. Ez a tagozódás a kapcsolási rajz alapján is megállapítható.

a) A hálózati transzformátorral és egyenirányítókkal ellátott hálózati tápegység az erősítőhöz csatlakozó vezetéken juttatja a feszültséget. Itt jegyezzük meg, hogy a nyomógörgő behúzását a K3 kapcsoló végzi, amelyet a lejátszó nyomóbillentyű alsó része mozgat.

b) Motor

c) A fejegység főbb részei: a törlőfej, kombináltfej és a húzómágnes. Az erősítővel való összeköttetést csatlakozó biztosítja.

d) Erősítő. A kapcsolók: a hálózati kapcsoló (K1) és a hangszín-potenciométer (P2) egy tengelyen ülnek, kézzel mozgathatók. A trükk-kapcsoló rugócsomagját (K2) ugyancsak kézzel lehet kapcsolni. Figyelem! A trükk-nyomógomb alsó végződése állítható, túl mélyre állítva a törlés megszakad! Az üzemmód kapcsolót (K6) a felvétel-nyomógomb nyúlványa mozgatja. Ennek a kapcsolónak a működési helyzetét egy lemez elhajlításával állítani lehet. A (K5) korrekciós kapcsoló a sebességváltó görbe pályáról (103) egy kar segítségével kapja mozgatását. Állítólemezzel ennek működési helyzetét változtatni lehet. A (K4) pillanat állj kapcsoló a húzómágnes áramkörét szakítja.

A tápegység adatai

Névleges hálózati feszültségre kapcsolva:
Anódfeszültség: (A-C) 275 Volt +/-10%.
Szűrt anódfeszültség: (B-C) 230 Volt +/- 10%.
Húzómágnes-tápfeszültség: (D-E) 11 Volt +/- 10%.
Fűtőfeszültség: (f-f) 6,3 Volt +/- 5%.
Búgófeszültség:
(A-C) max. 2 Volt
(B-C) max. 10 mV
(D-E) max. 1,2 Volt
A vezetékben folyó áram lejátszásakor:
A vezeték 36 mA +/- 10%
B vezeték 11 mA +/- 10%
C vezeték 0,22 A +/- 10%

 

Az erősítő mérése felvételállásban

A frekvenciamenet

A hangerő-szabályozót maximális, a hangszín-szabályozót legmélyebb állásba kell állítani. Az EF 86 cső vezérlő rácsát a földhöz zárjuk. A Cs3 bemenő csatlakozó 2-3 pontjára (pick-up) 1 kHz-es jelből olyan szintet adunk be, hogy a Cs2 feszültségkimeneten 245 mV-ot kapjunk. Ez adja az 1 kHz-es vonatkoztatási nulla szintet. A kimenetet e mérés alkalmával 3 ohmos műterheléssel le kell zárnunk. Ezután mindhárom sebességen ellenőrizzük a frekvenciamenetet, amelynek az ábra szerintinek kell lennie.

Érzékenységmérés

A mérést 9,5 cm/s szalagsebességnél végezzük. A Cs3 bemenő szorító 2-3 pontjára 333 Hz-es 300 mV, ill. az 1-2 szorítóra 5 mV-os nagyságú jelet adunk, és mindkét esetben a hangerő-szabályozó megfelelő leszabályozásával 2,5 voltot állítunk be a Cs2 feszültségkimeneten. A varázsszem rácskörében levő potenciométert úgy állítjuk be, hogy a varázsszem sötét ágai kb. 2 mm szélesek legyenek.

Zajmérés

A Cs3 csatlakozó 2-3 pontjára adjunk 333 Hz-es, 300 mV-os jelet. A hangerő-szabályozót szabályozzuk le ismét úgy, hogy a kimenő jel a Cs2 feszültségkimeneten ismét 2,5 V legyen. A Cs3 csatlakozóból a hanggenerátort húzzuk ki, és zárjuk le ezt a csatlakozót egy záró dugasszal. Ez úgy készül, hogy egy csatlakozó dugó 1-2 pontja közé rövidzárat, 2-3 pontja közé 40 k?-os, 0,1 W-os ellenállást kapcsolunk. Az ellenállás hidegvége - a 2 ponthoz forrasztott vég - a dugasz nyaka felé álljon. A Cs2 feszültségkimeneten ennél a lezárásnál a kimenő zaj mértéke nem haladhatja meg az 5 mV-ot.

 

Az erősítő mérése lejátszás állásban

Frekvenciamenet

A hangerő-szabályozó felcsavart, a hangszín-szabályozó legmélyebb állásban legyen. Hanggenerátorral az EF 86 cső első rácsára csatlakozunk. A Cs4 teljesítmény kimeneten 3 ohmos műterhelés legyen. A bemeneti szintet úgy választjuk meg, hogy l kHz-es kimeneti nulla szint a Cs2 feszültségkimeneten 77,5 mV legyen. Mindhárom sebesség esetén ellenőrizni kell a frekvenciamenetet az ábra szerint. A frekvenciamenet esetleges korrekcióját az alábbi ellenállásokkal kell elvégezni:

9,53 cm/s 4,76 cm/s 2,38 cm/s
R15 R32 R33
R29 R30 R31

Érzékenységmérés

A hangerő-szabályozó teljesen felcsavart, a hangszín-szabályozó legmélyebb állásban legyen. Hanggenerátorral az EF 86 cső rácsára csatlakozunk, és 1 kHz-es, 3 mV bemenő feszültséget adunk, a teljesítmény-kimeneten 3 ohmos műterhelésnél feszültséget mérünk, ennek legalább 1,73 Voltnak kell lennie.

Torzításmérés

Legnagyobb hangerőre állított, legmélyebb hangszínre csavart potenciométer állásban az EF 86 cső rácsára 1 kHz-en akkora bemenő jelet adunk a hanggenerátorból, hogy teljesítmény-kimeneten 3 ohmos műterheléssel 1,73 voltos kimenő szintet mérhessünk. Ilyenkor a legnagyobb torzítás Ktot max. 3,5% lehet. Az árnyékoló lemezt fel keli tenni.

Zajmérés

9,53 cm/s sebességet állítunk be. Az EF 86 cső vezérlő rácsára 333 Hz-es, 3 mV-os feszültséget adunk hanggenerátorból. A hangszín-szabályozó szélső, mély állásban legyen, a hangerő-szabályozót pedig csavarjuk fel annyira, hogy a Cs2 feszültségkimeneten 400 mV kimenő szintet mérhessünk. E beállításban a generátort kapcsoljuk le, majd az első cső első rácsát földeljük, utána az R27 ellenállással zajminimumot állítsunk be. A Cs2 kimeneten a zajfeszültség nem lehet nagyobb 1,8 mV-nál. Az árnyékoló lemez legyen fenn.

 

 

Törlés és előmágnesezés mérése

55 kHz, +/- 10%-os oszcillátor frekvencia mellett, a törlőfejen jelentkező feszültség 140 V, +/- 15%. Ugyanilyen oszcillátor frekvencia és feszültség mellett, a kombinált fejen az előmágnesező feszültség 70 V, +/- 10% legyen. A tűrés úgy értelmezendő, hogy ahány százalékkal nagyobb vagy kisebb a frekvencia, annyi százalékkal nagyobb vagy kisebb feszültséget kell beállítani, a C24 trimmer-kondenzátorral. A törlőoszcillátor frekvenciáját - közvetlenül mutató frekvenciamérő hiányában a következő képpen lehet meghatározni: Üzemi szignálgenerátorral vezéreljük egy oszcilloszkóp függőleges erősítőjét. A vízszintes erősítőt a törlőoszcillátor katódköréből hajtsuk. Ha a törlőfrekvencia 55 kHz és ugyanakkor a szignálé 110 kHz, az oszcillátor ernyőjén egy függőleges 8-as alakot kell látnunk, mert a frekvenciaarány 1:2.

 

Mérések szalag használatakor

Szalagsebesség-ingadozás (nyávogás)

A mérést mindhárom sebesség esetében az OIRT 21. ajánlás szerint kellene elvégezni, műszer hiányában azonban a nyávogást a következőképpen határozzuk meg. Hanggenerátorból 500 Hz-es jelet adjunk a készülék Cs3 2-3 pick-up bemenetére. Készítsünk 9,5 cm/s és 4,75 cm/s sebességeken egy-egy 10 perces felvételt, majd amikor ezt lejátsszuk, a 3 ohmos műterheléssel lezárt teljesítmény-kimenetet kapcsoljuk oszcilloszkópunk vízszintes erősítőjére. A hanggenerátor kimenetét az oszcilloszkóp függőleges erősítőjére kössük, vigyázva arra, hogy az előbbi felvétel idején beállított 500 Hz-es frekvencia ne változzék. Ez után állítsuk be az oszcilloszkóp erősítőjét úgy, hogy a megjelenő ábra a képernyőn egy négyzetmezőbe kerüljön. Ha a magnetofonszalag továbbítása egyenletes, a képernyőn kapott ábra kör, ellipszis vagy egyenes aszerint, hogy a két jel között mennyi a fáziskülönbség. Szalagsebesség-ingadozáskor az ábra jobbra vagy balra látszik forogni, ilyenkor a hanggenerátor jele és a lejátszott jel között frekvenciakülönbség van. Ha egy másodperc alatt az ábra egy fordulatot tesz meg, akkor a frekvenciakülönbség 1 Hz. Ez 500 Hz-re vonatkoztatva 0,2%. A gyár által megadott szalagsebesség-ingadozás 9,5 cm/s sebességnél 0,3%, 4,75 cm/s sebesség esetén 0,6% lehet. A leírtak alapján 9,5 cm/s szalagsebességre 0,3% lehet a lebegés mérőszáma, ehhez az oszcilloszkóp ábrájának másfeles fordulatszáma tartozik másodpercenként. 4,75 cm/s szalagsebességnél az oszcilloszkóp ábrája másodpercenként három fordulatot tehet meg. 2,4 cm/s szalagsebesség esetén is ellenőriznünk kell a lebegést. Ezt a fentiekkel teljesen azonosan végezzük. Célszerűbb azonban itt a felvételhez 200 Hz-es jelet használni. Itt 1 % a lebegés megengedett mérőszáma, amikor is az oszcilloszkóp ábrája két fordulatot tehet meg másodpercenként.

Jel/zaj viszony mérése

A pick-up bemenetre (Cs3; 2-2) 333 Hz-es jelből 300 mV-ot adunk. A hangerő-szabályozót úgy állítjuk be, hogy a Cs2 feszültségkimeneten a kimenő feszültség 2,5 V legyen. A hangszín-szabályozót a legmélyebb hangra kell állítani, a kimeneten a hangszóró helyére 3 ohmos műterhelés kötendő. Felvételt készítünk a leírt beállítással, és ekkor kielégítő pontossággal K3 = 5%-ra kivezérelt felvételt kapunk. A leírt beállítás egyben a szalag kivezérlésének mértékét is rögzíti, nagyobb ki vezérléshez ui. nagyobb jel/zaj viszony tartozik. A hangerőállást változatlanul hagyva, törölt szalagrészt készítünk. A Cs3 csatlakozóba lezáró dugót helyezünk. Tekercseljünk vissza felvételünk elejére és játsszuk le azt. Ez után a leírt felvétel lejátszásakor a hangerő-szabályozót állítsuk be úgy, hogy a Cs2 feszültségkimeneten 400 mV legyen. Ez lesz a vonatkoztatási szint. A leírt körülmények mellett, ha a feszültségkimeneten 400 mV-ot mérünk, a hangszórókimeneten levő 3 ohmos műterhelésen jó közelítéssel +/ 1,5 dB az 1 Watthoz tartozó kimenő feszültség 1,73 V. Ellenőrizhető a szalagkivezérlés: a feszültségkimeneten K3 = 5%-nak kell lennie. Az előbb beállított hangerővel játsszuk le a törölt szalagrészünket (a készülék is a műszerek hálózati csatlakozói a kedvezőbb helyzetbe fordíthatók). A K3 = 5%-os szintű felvétel és a törölt szalagrész lejátszásakor kapott feszültség dB-ben kifejezett aránya a jel/zaj viszony. Ennek 9,5 cm/s szalagsebesség esetén 44 dB-nek, 4,75 szalagsebességnél 42 dB-nek kell lennie.

A szalagról felvett teljes frekvenciamenet

Teljesen felcsavart hangerő-szabályozó és legmélyebb hangszínállásnál a Cs3 csatlakozó 2-3 pontjára (pick-up) 12 mV-os szinten különböző frekvenciát adunk. A kimenő szintet csővoltmérővel mérjük a kimenő feszültség Cs2 csatlakozó 2-3 pontján. A kimenő feszültség +/- 3 dB-t térhet el a megadott görbékhez képest.

Torzítás mérése

Maximális hangerő és mély hangszínállás mellett a magnetofon 3 ohmos műterheléssel lezárt kimenetén feszültséget mérünk. A bemenő jelet a kombináltfej-szerelvény forrasztólécén levő két forrasztási pontra adjuk. (a kombinált fejtől számított második pont a hideg-, a harmadik a melegpont) A generátorból olyan jelet adunk, hogy a magnetofon 3 ohmos műterhelésén 1,73 V feszültség jelentkezzék. Ennél az 1 Watt kimenő teljesítménynél a torzítás legfeljebb 5% lehet, 1000 Hz mérőfrekvencián. A torzítást közvetlen mutató torzításmérővel kell vizsgálni. Szükség esetén - torzításmérő hiányában - a torzítást gyakorlott szemmel oszcilloszkópon becsülni is lehet.

 

Felhívjuk olvasóink szíves figyelmét, hogy a Rádiótechnika c. folyóirat 1966. 1..7. számában Bálint Sándortól cikksorozat jelent meg. Ez, a Calypso magnetofonnal kapcsolatban előfordult hibaesetek alapján ismerteti a hibát okozó alkatrészt, tényezőt stb., majd közli a hibaelhárítás módját. A szóban forgó közleménysorozat - véleményünk szerint - ezt az ismertetőt kiegészíti és a készülékjavításhoz hasznos segítséget ad.)