Lapozós órás rádió
(sajnálom...)
    
    ![]()  | 
    Ma egy un. polcfelszabadítós project következik, azaz szétszedek valamit, ami már nagyon útban van. Erre a lapozós órás rádióra esett a választásom. Kezdetben még úgy volt, hogy ki lesz pofozva, kap egy szép fenyőfa dobozt, de aztán nem így történt, mert találtam egy sokkal egyben lévőbb, vagyis működőképesebb példányt, és azt kapta meg a gyerek. Ez szegényke meg áldozatul esett alantas ösztöneimnek. | 
    
    ![]()  | 
    Egy apró dobozban ott volt mellette ez a rakás csavar. Ezek tartották össze eredetileg. Mondjuk nem nagyon tartották, mert szegényke már egy kissé (amúgy nagyon) össze volt törve. | 
    
    ![]()  | 
    Alaposan megfürdettem, majd jó szokásomhoz híven félreraktam. Sokáig a nagyszobában hevert az asztalon, később pedig - mint az fentebb látható - a polc tetején végezte. Mennyi de mennyi gép járta be nálam ezt a sorsot... Régebben ugyanis meglehetős mennyiségű kacatot kaptam ajándékba. Amennyiben sikerült őket kipofoznom, akkor idővel vagy visszaadtam, vagy tovább ajándékoztam. | 
    
    ![]()  | 
    Volt itt a hátam mögött a szekrényben egy rádiósmagnó, amire évek mentek rá mire megjavítottam. Egy kisgyereké volt, akinek volt csavarhúzója. Tulajdonképpen újra kellett huzalozni az egészet, az elgörbített főtengelyt meg ne is említsük! Visszatérve mai boncolásom tárgyához, szép ez a skála. Egészen jól mutatna fenyőfa mintájú környezetben. | 
    
    ![]()  | 
    Mondjuk ennél a rommá töredezett doboznál minden jobb. Már úgy értem, hogy még az is, amit én készítenék. Mert ugye ezt a dobozt helyreállítani... Sajnos mindenfelé ilyen betörések vannak rajta. Ráadásul minden tartópöcök repedt, vagy hiányzik. | 
    
    ![]()  | 
    Nem is kellett csavarozni, hanem csak ki kellett emelni az aljából. | 
    
    ![]()  | 
    Bedugtam a konnektorba, mire fel kigyulladtak rajta a lámpácskák, megszólalt a hangszóró, zizegni kezdett az óra motorja. Sajnálom, de ebből akkor is bontás lesz. | 
    
    ![]()  | 
    A trafó mondjuk még jó lehet valamire. | 
    
    ![]()  | 
    Szegény hangszóró is romos állapotban van. Lyukas is meg szakadt is a membrán. Persze ezek a hibák ecsettel és ragasztóval jórészt orvosolhatók. No de minek? Nos azért, mert ez nem egy mindennapi hangszóró! Nézzük csak meg a hátulját. Ez bizony 32 ohmos, ami nem egy szokvány hangszóró impedancia. | 
    
    ![]()  | 
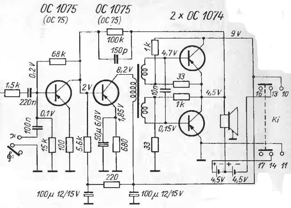
    A panelt szemlélve szembeötlik, hogy baloldalt felül, ott ahol a hangfrekvenciás végfokozat található, na ott csak egyetlen trafó látszik. Vagyis ebben az erősítőben nincs kimenőtrafó. Mivel a végtranzisztorok viszonylag kisáramúak, az impedancia illesztést a hangszóróval oldották meg. Éppen ilyen megoldású végfok volt az Orionton táskarádióban is. | 
    
    ![]()  | 
    Ideiglenes jelleggel kicseréltem a hangszórót egy kevésbé zörgő példányra. Persze ez 4 ohmos, ami azonnal meg is hallatszik a rádió hangján. Meglehetősen erőlködve szól, valamint jócskán le is halkult. Hattyúdal ez már csak... | 
    
    ![]()  | 
    Kiforrasztgattam a vezetékeket. | 
    
    ![]()  | 
    Glimm lámpácska. Ennek a parázsló fénye világította meg a számokat. | 
    
    ![]()  | 
    Mármint ezeket a számokat. Hogy vágytam egy ilyenre gyermekkoromban... No persze egyáltalán nem azért, hogy nézzem! Gyermekként ugyanis még mit érdekelt engem, hogy hány óra van? No de szétszedni! Na azt már nagyon szerettem volna. Ha kissé megkésve is, de egyszer mindennek eljön az ideje. | 
    
    ![]()  | 
    Ez a mechanikai konstrukció éppen azt tudja, mint a mai LED kijelzős órás ébresztős rádiók, csak itt ugye még minden egyes funkció mechanikusan lett megoldva. Természetesen mutatta az időt, ébresztett a beállított időben, valamint sleep (altató) funkciója is volt. | 
    
    ![]()  | 
    Ez az apró hálózati szinkronmotor forgatja az órát. Ha pontos volt a hálózati frekvencia, akkor az óra is pontos volt. Ez a megoldás nyugaton ugyan jól működött, mifelénk keleten azonban nem volt pontos a hálózati frekvencia. Legalábbis akkoriban még nem, mikor ezek a szinkronmotoros órák futottak. A különböző kapcsolási funkciókat mondhatni örökéletű mikrokapcsolók látták el. Két kapcsoló is volt, mert egyszerűbb volt betenni még egyet, mint mechanikailag megoldani, hogy az óra mindig ugyanazt nyomkodja. | 
    
    ![]()  | 
    A motorról lekaptam a védősapkát. | 
    
    ![]()  | 
    Majd következő lépésként magát a forgórészt is. | 
    
    ![]()  | 
    Ilyen motor forgatja például régi mosógépek programkapcsolóját. | 
    
    ![]()  | 
    A motor maga lassú fordulatszámú, és elég gyengécske. A fordulatszámot még így is lassítani kell, erre szolgál az itt látható áttétel. | 
    
    ![]()  | 
    Illetve itt látható az áttétel. | 
    
    ![]()  | 
    Nem sok minden volt benne. Kicsit olyan mint egy óra. Két lapocska között fogaskerekek. | 
    
    ![]()  | 
    Akkor most beteljesül gyermekkori álmom, vagyis végre szétbonthatok egy lapozós számkijelzős órát. Így harmincöt év elteltével, szóval így azért már nem olyan izgalmas. | 
    
    ![]()  | 
    Ez az a rész ami különösen érdekelt. | 
    
    ![]()  | 
    Ahogy lehull a felső lap, előkerül alóla a következő szám. | 
    
    ![]()  | 
    Ez itt egy oldalnézeti kép. Valahogy le vagyok törve... Lehet, hogy már egy kisvasútnak sem örülnék igazán?  | 
  
    
    ![]()  | 
    Unottan szórtam szét a fél számlapocskákat az asztalon... | 
    
    ![]()  | 
    Nézzük akkor a rádió részt. Lehetne belőle építeni mondjuk egy rádiót. Lesz is ilyen project! Csak győzd kivárni... | 
    
    ![]()  | 
    Korrekt felépítésű, teljesen használható közép és ultrarövid hullámú rádió. Régebben az ilyen még felhasználható paneleket eltettem. Aztán megtelt velük egy fiók, majd megtelt a következő, és még az azt követő is. Tényleg! Majd csinálok ezen fiókok tartalmából is egy bemutatót. Az lesz a project címe, hogy: Ezeket már rég szétszedtem! Vagy valami egészen más... | 
    
    ![]()  | 
    Ez egy érdekes részlet. Tulajdonképpen ez egy antenna. A hálózati kábelről egy induktív csatolás, és máris van kilógó drótantenna nélkül is URH vétel. | 
    
    ![]()  | 
    Mint azt már említettem, ez a rádió egy "kissé" össze volt törve. No persze nem csak ez, de szinte minden tartóka el volt benne törve. Sajnos a műanyag házról készült fotó "elveszett", pedig volt rajta egy igen érdekes részlet. Ez egy Blaupunkt rádió, azaz német gyártmány. Nem egy mai darab, de ennek ellenére a műanyag ház felöntéséből az derült ki, hogy Kínában készült. (legalábbis a doboz) | 
    
    ![]()  | 
    A végfok felülnézetből. Régen a beteg kisrádiókból kivágtam ezeket a részeket lombfűrésszel, de arra már nem emlékszem pontosan, hogy ezt mégis miért tettem. | 
    
    ![]()  | 
    Kiszedem ezt a forgókondit, meg a ferritrudat, meg a pici potmétert. | 
    
    ![]()  | 
    Nem sok mindent tartottam meg belőle. A maradék ment a szemétbe, ahonnan amúgy is származott. Béke poraira... |