Amaterske Radio

 

   Hogy a szerző nem normális, annak a ténynek eddig sem voltak vitatói, merthogy mire nagy nehezen átrágtam magam az összes begyűjtött anyagon, addigra nem elkezdett hiányozni a mindennapi rutinná vált válogatás? De!
  
Gondoltam legyen, s már töltöttem is lefelé sebesen egy újabb adag elektronikával foglalkozó újságot az Internetről. Ami anyagot alább találsz, azt az Amaterske Radio nevű lapban találtam említésre méltónak.

 

Én is így szoktam tekercselni, csak nem szoktam tekercselni. Hogy ezt minek
említem meg mindig, mikor meglátok egy satuba fogott amerikánert...

 

 

Íme a Csehszlovák pisztolypáka őse.

 

 

Variációk detektorosra. Fülesem, tekercsem, forgókondenzátorom, diódám
és detektorom van, csakis munkakedvem, és antennám földelésem nincs.

 

 

A "Sztálin és Lenin táviratot olvas" minden
újságban kötelezően lehozandó kép volt.

 

 

Ez a televízió méret nálunk kimaradt, mert mi magyarok
már eleve a nagyobb képernyős tévékkel kezdtük.

 

 

Egy csöves telepes visszacsatolt audion, a háború után ránk maradt
(és persze a szomszédokra is) német csőre komponálva.

 

 

Elvtársnő rádiózik a bokorból.

 

 

Régen, mikor még nem lőttek minden kis vacakra spektrumanalizátorral, ennyire
egyszerű ötletek születtek az egyes jelenségek be, illetve kimutatására. Ez a szerkezet
a hőelem létét bizonyítja be. A szerkezet alsó és felső fele eltérő fémből van. A két fém
közötti bal oldali kontaktust melegíti fel a Bunsen-égő. A kereten belül az a valami,
az egy iránytű. Mikor a melegítés hatására feszültség keletkezik, az egymenetes
tekercsként is felfogható konstrukcióban folyó áram hatására mágneses
tér is keletkezik, ami persze kitéríti eredi állásából az iránytűt.

 

 

Ez így kompletten egy tévé.
Az ember el sem hinné, hogy ez így, még ennyire leegyszerűsítve is működik.

 

 

Márpedig itt van a szerkezeti rajza is. Nem tévé képcső van benne, hanem
oszcilloszkópba való, ezért nem mágneses, hanem elektrosztatikus
az eltérítése, és egy kis tükörrel vetíti ki a képet az előlapig.

 

 

Ez egy televízió adapter oszcilloszkóphoz. E1 szupreg vevő, E2 videó demodulátor
és szinkronleválasztó, E3 videó erősítő, E4 szinkronjel erősítő illetve
eltérítő generátor. Az ember alig hiszi el, hogy ez így működik.

 

 

Valamiért megtetszett ez az ábra, ezért leragadtam a nézegetésénél.
Aztán miközben nézegettem, rájöttem, hogy mi is ez az izé.
Ez kérem egy síkban előre megtekercselt transzformátor,
amit bevasalás előtt egyszerűen csak össze kell hajtogatni.

 

 

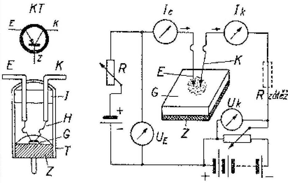
KT1 tranzisztornak vagy összekeverték a lábait, vagy földelt emitteres beállításban
dolgozik, de nem ez az érdekes, hanem a telep. Az a hasáb ugyanis egy fényelem.
Persze nincs ebben semmi érdekes, hiszen létezett fényelem már 1956-ban is.

 

 

A tranzisztor áramait magyarázó ábra abból a korból (1956), mikor a tűs tranzisztor
még valóban tűs tranzisztort jelentett. Van is valahol egy leírásom arról,
hogyan készíthetünk ilyet. Mármint tűs tranzisztort házilag.

 

 

Kezdetben azért alkalmazták a reflex elvet, mert meg lehetett vele spórolni egy
tranzisztort, illetve az ő árát. Később, mikor a tranzisztorok ára már lement,
már csak megszokásból, vagy érdekességből, merthogy más értelme nincs.

 

 

Nekem a "C" ábra szerinti tranzisztor tetszik a legjobban, mert olyanom
még nem volt, pedig apukám dobozában, illetve a néhai úttörőház
rádiós szakkörében akadtak érdekességek. Ez de régen volt...

 

 

Mivel nem ismerem a nyelvet (sem a csehet, sem a szlovákot), ezért elolvasni nem
tudtam, magamtól pedig nem jöttem rá, hogy mi akar lenni a bal oldali komplexum.
Talán finoman vasmaggal, durván pedig fokozatkapcsolóval hangolható ez a rádió.
Persze csak találgatok...

 

 

Előszörre azt a nevet adtam ennek a képnek, hogy "ezt sem értem", azonban végül
rájöttem az akkumulátor igencsak furcsa bekötésének okára. Mikor kikapcsoljuk
a rádiót, akkor az antennából érkező energiával tölti az akkumulátort. Persze
kikapcsoláskor érdemes a rádiót a legerősebb helyi adóra hangolva hagyni.
Az ötlet annyira zseniális, hogy fura, hogy még sehol másutt nem láttam.

 

 

Érdekes, de mifelénk, vagyis a magyar Rádiótechnika újságban nem volt szokás
a több hangolt körös egyenes rendszerű vevő. Vagy legalábbis ritka rá a példa.
Illetve szerencsétlen első tranzisztor már megint reflex kapcsolásban dolgozik.

 

 

Újabb két hangolt körös egyenes vevő. A változatosság kedvéért
most a harmadik tranzisztor dolgozik reflex üzemben.

 

 

Szupervevő koncentrált sávszűrővel. T2 továbbra is reflex üzemben.
Így elbonyolítani valamit egy tranzisztor megspórolásáért...

 

 

Zümmer készítése hangszóróból. Az addig rendben, hogy zizeg, no de mivégre?

 

 

Hármas forgóval hangolt, ún. előkörös szupervevő.
(a KF fokozatokat levágtam)

 

 

Ha nem volna otthon kettős-potenciométerünk,
akkor így lehet kisakkozni házilag.

 

 

Azt látom, hogy ez egy reflex vevő, de én itt le is akadtam a kapcsolási rajz elolvasásáról.
1965 02. havából származik, szóval még csak nem is egy áprilisi szám. T1 tranzisztor
báziskapcsolásban dolgozik, és hangolatlanul kapja az antennát az emitterébe.
T2 tranzisztor is báziskapcsolásban dolgozik, és az emitterébe van bekötve
a demodulátor dióda. No de mi az a trafónak feltüntetet tekercs a T2
kollektor körében? Ha egyszer van primerje, és 5:1 az áttétele, akkor
hol van a szekunder tekercs? T2 kollektorából visszajut a hangfrekvencia
a T1 tranzisztor bázisába, aminek a kollektorából kap jelet a T2 emitter körében
elhelyezett demodulátor dióda. T3 bázisa meg T1 emitteréből kapja a jelet.
Nem értem. Mintha az első két tranzisztornak mind az emitterét, mind
pedig a bázisát bemenetnek használná ez a kapcsolás.
Mondjuk lehet, csak nem értem...

 

 

Ezek a képek már egy áprilisi számból vannak, 1965-ben ugyanis még nem volt tévé
a karórában, mint ahogy még a magnót sem tudták belesűríteni egy gyűrűbe.

 

 

Varia panel és a rajta kikísérletezhető kapcsolások. Van is elrejtve ilyen szegecselt
panelem, amit az vetett ki a használatból, hogy az újabb keletű nyomtatott
áramköri lapokról már erőszakkal sem lehet leszedni a rézfóliát,
nemhogy a pákával csak úgy le lehessen melegíteni.

 

 

Hárommotoros amatőr magnócska. A három motor meglehetősen leegyszerűsíti
a magnetofon mechanikai felépítését, szinte csak elektromosan kell vezérelni.

 

 

Nem kell megijedni a bal oldalt látható "bonyolult" kapcsolási rajztól, hiszen
azt hagyományos formában, forrcsúcsos bakelit lapra is fel lehet építeni.

 

 

Nem tudtam, hogy így nézett ki az MAA125-ös IC.

 

 

Reflex kapcsolást mindennel lehet készíteni.
Csővel, tranzisztorral, és akár még az előző képen látott IC-vel is.

 

 

Ennek csak az az érdekessége, hogy a konstruktőr valamiért egy kerek lapocskára
építette fel az egész rádiót. Persze egy panelnek bármilyen formája lehet,
amit csak hajlandóak vagyunk belőle fűrésszel megformázni.

 

 

Végre egy nem reflex rendszerű vevő! Ez meg szinkrodin. Szerintem ennek a működési
elvnek az elmagyarázásba az én tudásszintemmel nem kéne belevágnom. A lényege
az (na tessék), hogy a helyi oszcillátor a venni kívánt adóval azonos frekvencián
rezeg, az áramkör kimenete pedig közvetlenül hangfrekvencia. Ez persze sem
az AM, sem az FM modulációval dolgozó adók vételére nem alkalmas,
azonban nagyszerűen veszi a rövidhullámú amatőrök által használt
elnyomott vivőjű, vagy egyoldalsávos módon modulált jeleket.

 

 

1970-ben Csehszlovákiában az EL84-es végerősítő cső negyed annyiba sem került,
mint mondjuk egy OC26-os teljesítménytranzisztor. Bezzeg a mai csőárak...

 

 

Két hangolt körös egyenes vevő, jórészt az MAA325-ös IC-re alapozva.
Ez persze még nem a műveleti erősítők kora, hiszen...

 

 

...az MAA325-ben mindössze három tranzisztor található.

 

 

A telep nélküli, csak RF jelről táplált, de azért már tranzisztoros
rádiót ennél jobban leegyszerűsíteni már nem is lehet.

 

 

Azért így, hogy helyi telepről jár, már jobban átlátható a működési elv.

 

 

Szerintem annyit olvastam, hogy zesilovac, vagyis erősítő, hogy ugyanúgy beégett,
mint az első körben lapozgatott olasz újságokból a cuffia, vagyis a fejhallgató.

 

 

Az úgy volt, hogy csak pörgettem a lapokat kíváncsian, azonban meglepő sebességgel.
Ha valami érdekeset láttam, akkor vagy még idejében megálltam, vagy visszalapoztam.
Így megtalálni az érdeklődésre (vagy érdeklődésemre) számot tartó rajzokat, az azért
nem egy akármi feladat. Csakhogy nekem már van benne rutinom! Ez például egy
sztereó szimulátor, illetve álsztereó generátor. A bemenetére kapcsolt mono jelet
furmányos módon (fázistolók) spektrumában megbontja majd kettéválasztja.
A jobb alsó ábrán látható spektrumkép olyan "szép", mintha minimum
egy kétszer ötcsatornás grafikus equalizerrel rajzoltuk volna.

 

 

Az egyik próbapanelem megszólalásig hasonlít ehhez az ábrához.
Hogy azon én mennyi ónt széttaknyoltam, mire
a HF jelgenerátorom elkészült...

 

 

Ez a Sharp BP110 kisrádió kapcsolási rajza. Még élénkem emlékszem rá
amint rácsodálkoztam, hogy mégis mi a csuda benne az a rengeteg
nem tranzisztor, aminek valamiért mégiscsak három lába van.

 

 

2 IC, meg 2 tranzisztor, és már készen is van a szupervevő.
Részemről úgy vagyok vele, hogy a tranzisztorok helyett
inkább azokat a rohadt tekercseket integrálták volna...

 

 

Semmi érdekes, csak van egy ilyenem az egyik dobozomban. Eltettem mementónak,
hogy ne álljak neki olyan dolgok építésének (fiziológiai hangosságszabályozó),
melyekre nincs semmi szükségem. Sajnos nem vált be figyelmeztetésnek...

 

 

Ugyan oda van írva, hogy mi ez, de én akkor is szeretek először magamtól rájönni.
Ez egy Grundig KWV 1000 típusjelű rövidhullám / középhullám konverter.
Tipikusan egy eleve fémdobozba szerelt autórádió, vagy bármely más
kitűnően árnyékolt középhullámú vevő elé kell kötni, s azt mint KF
sávú vevőt használva, ezen adapter segítségével vehetjük az egész
rövidhullámú sávot. Ily módon kétszer transzponált lesz a rádiónk.
Ha valami csoda folytán rövidhullámú rádió építésére adnám a fejem,
akkor valószínűleg ezt a működési elvet fogom választani. Szerintem már
van is a pincém mélyén félretéve erre a feladatra néhány tucatnyi autórádióm.

 

 

Ez a jelgenerátor már fel is van szórva egy próbapanelra, csak még azt nem tudom,
hogy mi lesz belőle. Mert ugye alapvetően ez egy hangfrekvenciás jelgenerátor.
Én az alkatrészeket, illetve egyes alkatrészek értékeit átrendezve, átállítottam
középhullámra. Az elért eredmények tükrében azonban könnyen megeshet,
hogy mégiscsak feladom a tekercsnélküli középhullámú AM adóról szóló
elképzeléseimet. Egy tekercs beépítése azért még nem a világvége!
Márpedig nálam nagyon is az!

 

 

Én mondjuk nem így, nem két csoki darabbal oldottam meg a pisztolypákába
történő hegybekötés gondját, hanem vágtam bele négyes
menetet, majd tettem bele nagyfejű csavart.

 

 

Az se semmi, hogy ezen kép alapján kiszúrtam ezt a Videoton rádiót.
Persze az ismert formákra rááll az ember szeme.

 

 

A keretantenna utólagosan is illeszthető egy zsebrádióhoz, hiszen
elég csak beletolni rádiót a hangolt keretantenna belsejébe.

 

 

Én már láttam ilyen erősítőt közelről, bár azt Karcsi barátom készítette egy
szétfűrészelt NZC420 lemezjátszóból. Egészen ügyesen megcsinálta,
csak nem merte bekapcsolni, merthogy tetőfedő a szakmája,
így az elektronikához nem igazán ért, csak bátor.

 

 

Fejhallgató készítési leírást még az oroszoknál sem láttam, pedig ők aztán nagyok
voltak az alkatrészek szinte semmiből történő előállításában. Komolyan mondom,
hogy kedvet kap az ember, mikor meglát egy ilyen jópofa rajzot. Mert ugye mi
kell ehhez? Cipőkrémes doboz, zsilettpenge, cérnaorsó, tekercselőhuzal, két
vas csavar, mágneses lapocska, kábel, banándugók. Ezek az anyagok
minden jobb háztartásban kell, hogy akadjanak. Na ugorjunk!

 

 

T1 kapcsolása - mint hangolatlan erősítő - szokatlan.
Ezt is ki kéne egyszer próbálni...

 

 

Nem szemetel szét a szobában az ember, mikor fúr farag fűrészel.
Ez mekkora ötlet! Én mondjuk porszívózni szoktam.

 

 

Ez egy olyan oszcillátor, ami bele van építve egy hallgatóba.
Mikor feszültséget kap, akkor egyből sípol.
Beválik feszültség ellenőrzőnek,
vagy Morse tanuláshoz.

 

 

Kár, hogy nem olvastam el a leírást, hogy akkor ehhez most két ferrit kell,
avagy mind a négy tekercs egyetlen ferritrúdon van elhelyezve.

 

 

Már megint két hangolt körös. Még tiszta szerencse, hogy pont az ilyen
esetekre félre van téve néhány szimmetrikus kettősforgóm.
Ha hármas forgóm is volna, építenék három hangolt
körös rádiót is. Jó. Akkor bevallom. Van, és
fogok is építeni, csak azt ki kell várni!

 

 

Ez egy tekercs nélküli rádió. Első ránézésre talán kicsit sok benne
a trimmer, de szerencsére bőven akad belőlük a dobozaimban.

 

 

Mint fent, csak fixre hangolt helyi vevő adapternek kiképezve.
Szerintem kicsit már túllőttem a célon az anyaggyűjtéssel.
Épp itt volna az ideje, hogy csináljak is valamit. Rádiót!

 

 

Ez egy Villard feszültségsokszorozó, ami közvetlenül a hálózatról jár. Annyira tetszett
az ötlet, hogy meg is építettem. Ionizálja a szoba levegőjét, és az nekem állítólag jó.
Hogy jó-e vagy sem, azt nem tudom, mert viszonylag rövid ténykedését követve
olyan porfoltot rajzolt a szobám amúgy frissen festett falára, hogy azonmód
megajándékoztam vele Sántik Jóska kollégámat. Vagy harminc éve...

 

 

LED sor vezérlése. Majd építek is ilyet, mint varázsszem szimulátor.

 

 

Egy jópofa kombinált műszer. AM modulált rádiófrekvenciás jelgenerátor, valamint
L C mérő. Ami engem megfogott benne, az a generátor rész egyszerűsége.
Egy szem tekercsek, viszonylag átlátható amplitúdó-stabilizálás.
Mind a tekercsek egyik lába mind pedig a forgókondi testelhető.
Ezt a kapcsolást érdemes volna felszórni egy próbapanelra, hátha
kiválthatnám vele a tekercsnélküli középhullámú AM adóm jelenlegi
Wien hidas oszcillátorát. Belegondolok, aztán pákázás helyett lapozgatok...

 

 

Orsósmagnó arcú ember, illetve inkább egy emberarcú orsósmagnó.

 

 

Hogy ez mekkora ötlet alkatrészek lábainak azonos szélességre
történő hajtogatásához! Én speciel szemre szoktam.

 

 

Tetszik! Persze be tudom forrasztani az alkatrészeket úgy is, hogy közben
az asztal lapján hányódik a panel, de attól ez még igenis egy jópofa ötlet.

 

 

Gondolom az ötlet kiagyalójának elege lett abból, hogy ki kell
fordítania a csuklóját, mikor leteszi pihenni az asztalra a
pisztolypákát. Ez az ötlet is megérdemel egy ötöst!

 

 

Újabb LED sor vezérlő elektronika. Olyan ez a gyűjtögetés nálam, mint mikor
az alkoholista üveglámpát akar készíteni, s már vagy a századik
üvegből issza ki a lámpához amúgy szükségtelen alkoholt.

 

 

Az A283D (TDA1083) egy nagyon nagy tudású rádióvevő IC.
Ellenben jelen kapcsolásban le van butítva egyenes vevőnek.
Olyan ez, mint egy Androidos okostelefonra a kalapács app.

 

 

Ez egy állomásra fixen behangolt rádió. Úgy dereng, hogy a Rádiótechnikában is volt
valami hasonló rajz, mégpedig Calypso rádió 873 címszóval. A Calypso rádió
a Magyar Rádió regionális kereskedelmi csatornája volt valamikor 1989
és 2002 között. Főleg zenét sugárzott, főszerkesztő B. Tóth László...

 

 

Ezt az ábrát egy hirdetés széléből ollóztam. Gondolom arról szólt a hirdetés, hogy nem
kell otthon trafót tekercselni, megcsinálja azt helyettünk más. Ez a gép annyira
egyszerű, hogy még csak satu és amerikáner sem kell hozzá. Csak egy
hosszú tengely kell, egyszerű bicikli kerékagy csapágyazással,
egyik végén kurblival, másik végén számlálóval. Kész!

 

 

Azt kell mondanom: Le a kalappal! Meghajlok a konstruktőr tudása előtt.
Illetve minden tiszteletem az övé, hogy ilyen szinten volt képes újragondolni
a panelfúrást, mint elvégzendő feladatot. Ez a szerkezet ugyanis egy nyáklap
fúrására szolgáló gép. Mert mi is a pontos feladat? Tette fel magának a kérdést
a konstruktőr. Én nem. Ezért az én elképzeléseim az általam ismert sémákból
kiindulva születtek. Mindenáron valami olyasmit akartam kreálni, mint amit
a boltban látni állványos fúró címszó alatt, csak persze kicsiben, hiszen
a Miniplex fúrógépre alapoztam volna. Hát nem! Nem így kell!
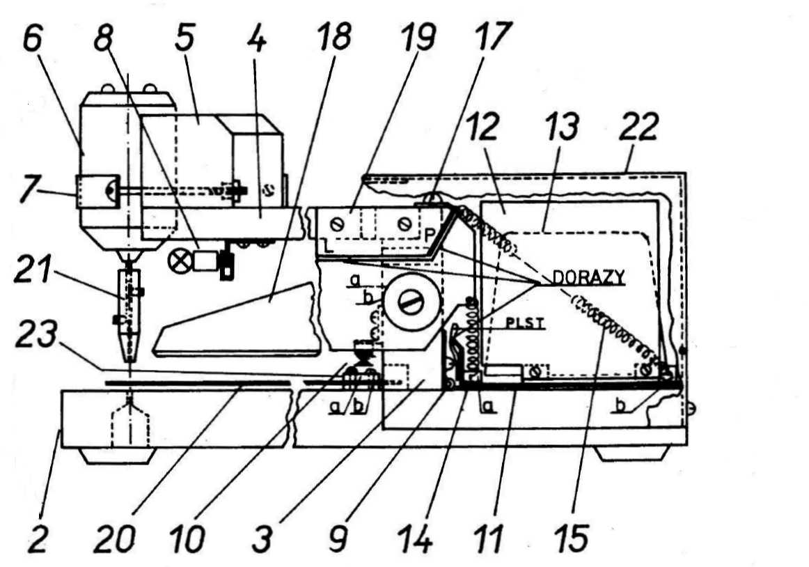
Szóval a kérdés még egyszer. Mi is a pontos feladat?
Lyukakat kell fúrni egy egészen vékony lemezbe.
Akkor meg minek kell elemelni a fúrót az anyagtól centikre?
Nem kell. Mikor kell járnia a fúrónak? Mikor igazítjuk az anyagot,
akkor nem, csak mikor már ráálltunk a fúró hegyével a születendő lyukra.

 

 

Nem vagyok egy gépész típus, a leírás nekem Csehül volt, a többi ábrát pedig kivágtam.
21-es a tokmány, 8-as a tárgyat megvilágító lámpa, 18-as elemet kell lenyomni mikor
fúrni akarunk, 13-as a hálózati trafó, 10-es kontaktus pedig bekapcsolja a motort.
A motor állványzatában pontosan mi mozdul el, s mely tengely a forgáspontja?
Nekem nem jött át, de ettől még le tudnám gyártani az egészet fadarabokból.

 

 

Varicap hangolású, mindössze 2 IC-ből megépített rádió.
Persze működik, csak a varázs veszik el valahol...

 

 

Kb. mint fent, de már mint szuperheterodin, Murata keramikus
szűrővel, a ZN414-et KF erősítőként felhasználva.

 

 

Ez a mini FM adó, ez tetszik! Még egy emitterkövető,
és már nem is húzza el az antenna az oszcillátort.

 

 

Az első két tranzisztor darlington emitterkövetőnek van kötve, így a megnövekedett
bemeneti ellenállás nem terheli a rezgőkört, nem rontja le annak jóságát. Az mondjuk
érdekes, hogy P1 mint hangerőszabályzó az első fokozat tápfeszültségét szabályozza.
A demodulátor előfeszített diódás, a végfokról pedig ha lehúzzuk a hangszórót,
megszűnik az áramfogyasztása. Ügyes részletek! Például ezért is válogatok.
Elteszem ide azokat az ötleteket, amiket majd később fel tudok használni.

 

 

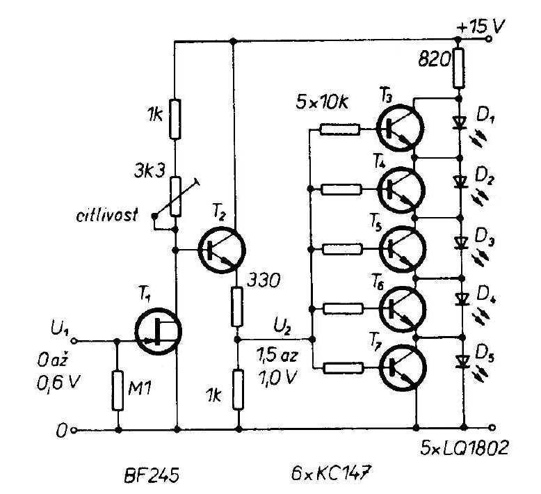
VU mérő, azaz kivezérlésmérő LED sor vezérlése műveleti erősítőkkel.

 

 

Pont mint fent, csak tranzisztorokkal. Mikor már kezdtem hanyagolni a pákát,
mindig azt mondtam magamban a Rádiótechnikára morogva, hogy még egy
kutyaugatás-szimulátor, vagy egy villogó karácsonyi fényfüzér, és nem
veszem meg többet a lapot! Persze még sokáig megvettem, csak
a Rádiótechnikában az említett kettőből volt egy kicsit sok.
Az Amaterske Radio újságban pedig a LED vezérlő
elektronikák voltak valamiért feltűnően sokan.

 

 

Ha fadarabokból és cipőkrémes dobozból lehet, akkor tulajdonképpen bármiből
lehet rádiót építeni. Ékes példa erre ez a rajz, mely áramkör a 4049-es,
amúgy digitális CMOS áramkörre alapoz. Talán megépítem...

 

 

Ebben a labortápban az tetszik, hogy valami csoda folytán átlátom az egyes
alkatrészek funkcióit. Addig-addig nézegetem, hogy a végén
még meg találom építeni, pedig van belőle több is.

 

 

Nem azért néznek ki ilyen lükén a tekercsek, mert unatkozott a konstruktőr, hanem
azért, hogy kicsi legyen az önkapacitásuk. Ha a meneteket egymás mellé, illetve
több rétegben egymásra tekercseljük, akkor az egyes menetek közötti kapacitás
a végén azt eredményezi, mintha párhuzamosan kapcsoltunk volna a tekerccsel
egy kondenzátort. Ezen kondenzátor értékének csökkentésére vannak
ilyen furán elhúzva egymástól az egyes menetek.

 

 

Gyári tekercsek a hőskorból. Érdekes a Palaba felirat, ami emlékeim szerint
(korabeli reklámok) egy elemgyár volt a Páva és a Mester utca sarkán.

 

 

Egy ilyen egyszerű szerkezetben az a jó, hogy egyrészt általában működik,
másrészt pedig a kevés alkatrész miatt teljesen átlátható a működése.
Nekem ez a kapcsolás (persze más elemértékekkel) még 200 MHz
környékén is vígan rezeg! Olyan kevés alkatrészből van, hogy
a pár bogyóc könnyedén felszórható a kapcsoló, potméter,
forgókondenzátor lábaira. Ez egy igazi asztalfiókproject!
Persze ahhoz, hogy egy szignálgenerátor normálisan, értsd
stabilan működjön, ahhoz azért még kell pár dolog, de azok
sem tartoznak az ördöngösség körébe. Stabil mechanikai felépítés,
árnyékolás (fém doboz), valami normálisabb kimeneti osztó, AM moduláció
lehetősége (esetleg FM is), és már ott is vagyunk a rajzlapról lelógó,
mindenféle érthetetlen részleteket tartalmazó kapcsolási rajznál.

 

 

Ez még nem igazán bonyolult, de azért már kezdi.
Én persze még nem...